Интерфейсный блок PLC, состоит из базового клеммного модуля PLC-BSC.../21 с винтовыми зажимами и вставным миниатюрным реле с силовыми контактами, устанавливается на монтажную рейку NS 35/7,5, 1 переключающий контакт, входное напряжение 230 В AC / 220 В DC
| Указания по эксплуатации | Если напряжение между одинаковыми клеммами расположенных рядом модулей превышает 250 В (L1, L2, L3), то необходимо установить разделительную пластину PLC-ATP. Затем мостовое соединение потенциалов производится с помощью FBST 8-PLC... или FBST 500... |
| Серия изделий | PLC-INTERFACE |
| Применение | Универсальный |
| Режим работы | 100 % ED |
| Долговечность механическая | 2x 107 коммутационных циклов |
| Состояние обслуживания данных |
| Дата последней ревизии данных | 12.01.2026 |
| Макс. мощность потерь при номинальных условиях | 0,74 Вт |
| Испытательное напряжение (Обмотка/контакт) | 4 кВ AC (50 Гц, 1 мин., обмотка/контакт) |
| Изоляционные характеристики: Катушка/контакт |
| Расчетное напряжение изоляции | 250 В |
| Расчетная стойкость к импульсному напряжению | 6 кВ |
| Категория перенапряжения | III |
| Степень загрязнения | 3 |
| Активная часть |
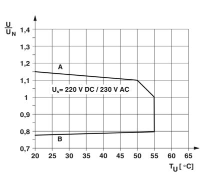
| Входное номинальное напряжение UN | 230 В AC |
| 220 В DC |
| Диапазон входных напряжений | 179,4 В AC ... 264,5 В AC (20 °C) |
| 171,6 В DC ... 253 В DC (20 °C) |
| Номинальное напряжение (вставное электромеханическое реле) | 60 В DC |
| Логика работы привода | с одним устойчивым положением |
| Привод (полярность) | поляризованный |
| Типовой входной ток при UN | 3,2 мА (при UN = 230 В AC) |
| 3 мА (при UN = 220 В DC) |
| Время срабатывания, типовое | 7 мс |
| Время возврата, типовое | 15 мс |
| Защитная схема | Мостиковый выпрямитель; Мостиковый выпрямитель |
| Индикация рабочего напряжения | LED желт. |
| Коммутация |
| Исполнение контакта | 1 переключающий контакт |
| Тип коммутационного контакта | Одинарный контакт |
| Материал контакта | AgSnO |
| Максимальное напряжение переключения | 250 В AC/DC (Если напряжение между одинаковыми клеммами расположенных рядом модулей превышает 250 В (L1, L2, L3), то необходимо установить разделительную пластину PLC-ATP. Затем мостовое соединение потенциалов производится с помощью FBST 8-PLC...или...FBST 500...) |
| Минимальное напряжение переключения | 5 В (100 мА) |
| Предельный ток длительной нагрузки | 6 A |
| Максимальный пусковой ток | 10 A (4 с) |
| Минимальный коммутационный ток | 10 мА (12 B) |
| Ток короткого замыкания | 200 A (условный ток короткого замыкания) |
| Мощность отключения (активная нагрузка), максимальная | 140 Вт (при 24 В DC) |
| 20 Вт (При 48 В DC) |
| 18 Вт (При 60 В DC) |
| 23 Вт (При 110 В DC) |
| 40 Вт (При 220 В DC) |
| 1500 ВА (при 250 В AC) |
| Выходные предохранители | 4 A gL/gG NEOZED |
| Коммутационная способность | 2 A (при 24 В, DC13) |
| 0,2 A (при 110 В, DC13) |
| 0,1 A (при 220 В, DC13) |
| 3 A (при 24 В, AC15) |
| 3 A (при 120 В, AC15) |
| 3 A (при 230 В, AC15) |
| Тип подключения | Винтовые зажимы |
| Длина снятия изоляции | 8 мм |
| Резьба винтов | M3 |
| Сечение жесткого провода | 0,14 мм² ... 2,5 мм² |
| Сечение гибкого провода | 0,14 мм² ... 2,5 мм² |
| 0,2 мм² ... 2,5 мм² (Отдельный кабельный наконечник) |
| 2x 0,5 мм² ... 1,5 мм² (Сдвоенный кабельный наконечник) |
| Сечение проводника AWG | 26 ... 14 |
| Момент затяжки | 0,6 Нм ... 0,8 Нм |
| Ширина | 6,2 мм |
| Высота | 80 мм |
| Глубина | 94 мм |
| Цвет | серый (RAL 7042) |
| Класс воспламеняемости согласно UL 94 (Корпуса) | V0 (Корпус) |
| Условия окружающей среды |
| Степень защиты (Установочный блок реле) | IP20 (Установочный блок реле) |
| Температура окружающей среды (при эксплуатации) | -40 °C ... 55 °C |
| Температура окружающей среды (хранение/транспорт) | -40 °C ... 85 °C |
| CE |
| Сертификат | Соответствие требованиям ЕС |
| UKCA |
| Сертификат | Соответствие требованиям UKCA |
| Разрешение на применение в судостроении |
| Сертификат | TAE0000196 |
| Испытание вредными газами |
| Маркировка | ISA-S71.04. G3 Harsh Group |
| EN 60068-2-60 |
| Данные судостроения |
| Temperature | D |
| Humidity | A |
| Вибрации | B/C |
| EMC | B |
| Enclosure | Required protection according to the Rules shall be provided upon installation on board |
| Электромагнитная совместимость | Соответствует Директиве по ЭМС |
| Директива по низкому напряжению | Соответствие Директиве по низкому напряжению |
| Стандарты / нормативные документы | МЭК 60947-5-1 |
| Тип монтажа | Установка на монтажную рейку |
| Указания по монтажу | устанавливаются в ряд без промежутков |
| Монтажное положение | на выбор |
| Номер артикула | 2966207 |
| Упаковочная единица | 10 Количество |
| Минимальное количество, предусмотренное условиями заказа | 1 Количество |
| Код продажи | 08 |
| Ключ изделия | DK6226 |
| GTIN | 4017918130695 |
| Вес/шт. (с упаковкой) | 39 g |
| Вес/шт. (без упаковки) | 37,037 g |
| Номер таможенного тарифа | 85364900 |
| Страна происхождения | DE |